grúa tuneladora grúa tuneladora grúa tuneladora grúa tuneladora grúa tuneladora grúa tuneladora grúa tuneladora grúa tuneladora grúa tuneladora grúa tuneladora grúa tuneladora grúa tuneladora grúa tuneladora

Pórtico móvil de grúa

Inicio / Productos / Sistema de grúa ligera / Pórtico móvil de grúa

Pórtico móvil de grúa

Productos

Las ventajas de los pórticos móviles son su movilidad omnidireccional, su rápido desmontaje e instalación y su tamaño mínimo, lo que permite trasladarlos a otro lugar utilizando una minivan. Su anchura y altura ajustables, junto con su estructura de acero bien diseñada, pueden soportar cargas que oscilan entre 100 y 5000 kg. Son especialmente adecuados para la instalación, manipulación y puesta en marcha de equipos de taller, carga y descarga de vehículos y elevación de grandes componentes de motores en talleres de reparación de automóviles.

Hay dos tipos principales de pórticos de elevación pequeños: uno es un pórtico totalmente móvil con ruedas de carga con freno, adecuado para elevación a nivel del suelo. El otro es un pórtico fijo montado sobre rieles sobre un piso o viga, que utiliza un polipasto eléctrico o manual para el levantamiento mecanizado. Esto reduce la mano de obra, reduce los costos de producción y operación y mejora la eficiencia del trabajo. Nuestra empresa puede personalizar los productos según los requisitos del sitio del cliente. Los polipastos de pórtico móviles pueden equiparse con un polipasto de cadena manual o con un polipasto de cadena eléctrico, lo que ofrece una gran practicidad y tecnología probada, lo que los hace muy populares entre los fabricantes.

  • Especificación
  • Acerca de la tuneladora
  • Contáctenos

modelo levantando peso reimensiones (mm) peso muerto
kilos un b c D f GRAmO h j k l (kg)
SRGS20 500 2000 2080 1100-1500 1544-2044 1876-2376 1158 2001-2501 2080 420 440 39
SRGS23 400 2300 2380 1200-1800 2380 40
SRGS40 250 4000 4080 2700-3500 4080 46
SRGm20 400 2000 2080 1100-1500 1548-2148 1880-2480 1215 2005-2605 2080 40
SRGM23 400 2300 2380 1200-1800 2380 41
SRGM40 250 4000 4080 2700-3500 4080 47
SRGt20 250 2000 2080 1100-1500 2022-2922 2354-3254 1586 2479-3379 2645 44
SRGt23 250 2300 2380 1200-1800 2380 45
SRGt40 250 4000 4080 2700-3500 4080 50
SRG1S20 1000 2000 2080 1102-1502 1490-1990 1822-2322 1242 1904-2404 2077 464 536 61
SRG1S30 1000 3000 3080 1902-2502 3077 67
SRG1S40 500 4000 4080 1902-3502 4077 73
SRG1M20 1000 2000 2080 1102-1502 1728-2428 2061-2761 1440 2143-2843 2200 65
SRG1M30 1000 3000 3080 1902-2502 3077 71
SRG1M40 500 4000 4080 1902-3502 4077 77
SRG1T20 1000 2000 2080 1102-1502 1969-2869 2301-3201 1639 2383-3283 2830 70
SRG1T30 1000 3000 3080 1902-2502 3077 76
SRG1T40 500 4000 4080 1902-3502 4077

82

Capacidad de elevación modelo reimensiones (mm) Peso (kg)
Estabilizadores*2 Viga principal*A
Especificaciones de las ruedas
Altura del gancho D yoncremento de altura E Altura máxima de la parte superior de la viga F Altura total h Ancho G
2000
(Un=3920)
S 1495-2245 5x150 2600 1931-2681 1212 68*2 9,2*A 6 pulgadas
M 2117-2867 5x150 3222 2553-3303 1429 75*2 9,2*Un 6 pulgadas
yo 2232-3232 5x200 3587 2668-3668 1726 84*2 9,2*Un 6 pulgadas
T 2747-3947 6x200 4301 3183-4383 1993 93*2 9,2*A 6 pulgadas
h 3195-4395 6x200 4847 3730-4930 2234 98*2 9,2*A 6 pulgadas
l 3585-4785 6x200 5347 4230-5430 2557 105*2 9,2*A 6 pulgadas
k 3686-5286 8x200 5848 4330-5930 2733 111*2 9,2*A 6 pulgadas
b 3869-5669 9x200 6149 4431-6231 2733 115*2 9,2*A 6 pulgadas
3000
(Un=3920)
5 1545-2295 5x150 2698 2029-2779 1212 71*2 11*Un 8 pulgadas
M 2167-2917 5x150 3320 2651-3401 1429 78*2 11*Un 8 pulgadas
yo 2282-3282 5x200 3685 2766-3766 1726 87*2 11*Un 8 pulgadas
T 2797-3997 6x200 4399 3281-4481 1993 95*2 11*Un 8 pulgadas
h 3245-4445 6x200 4847 3730-4930 2234 101*2 11*Un 8 pulgadas
l 3745-4945 6x200 5347 4230-5430 2557 107*2 11*Un 8 pulgadas
k 3846-5446 8x200 5848 4330-5930 2733 113*2 11*Un 8 pulgadas
b 4029-5829 9x200 6231 4513-6313 2733 119*2 11*Un 8 pulgadas
5000
(Un=3920)
yo 2143-3143 5x200 3592 2717-3717 1736 108*2 15*Un 8 pulgadas
T 2838-4038 6x200 4487 3412-4612 2059 120*2 15*Un 12 pulgadas
h 3289-4489 6x200 4938 3862-5060 2234 125*2 15*Un 12 pulgadas
l 3789-4989 6x200 5438 4362-5562 2557 131*2 15*Un 12 pulgadas

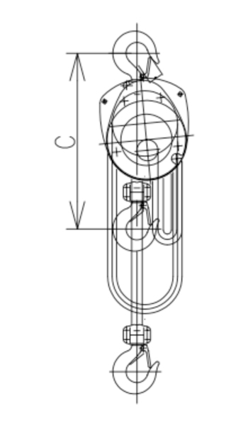
Polipasto de cadena manual (referencia)
Carga (kg) C(mm) Peso (kg)
250 290 4
500 350 9
1000 380 12
2000 460 19
3000 570 27
5000 700 43

Polipasto eléctrico (referencia)
Carga (kg) C(mm) Velocidad de elevación (m/min) Peso (kg)
250 410 8/2 24
500 490 8/2 31
1000 430 4/1 35
2000 615 4/1 65
3000 730 4/1 140
5000 760 4/1 150

Accesorios opcionales

Para tipo SRG
Número de serie Nombre Imagen
SRG0006 cabrestante de 0,5 t
SRG1006 1t cabrestante
SRG0007
SRG1007
Soporte rígido
SRG0008
SRG1008
Soporte flexible
SRG1010 tipo PRG1
SRG0016
SRG1016
Correa de amarre

Para tipo SG
Número de serie Nombre Imagen
SG 2006
SG 3006
SG 5006
Carro desmontable
SG 2008
SG 3008
SG 5008
Carro con cremallera manual
SG 0002 Distribución de energía con carro
SG 2010
SG 3010
SG 5010
piernas de apoyo
GS 2012
SG 3012
SG 5012
Ruedas auxiliares
SG 2016
SG 3016
SG 5016
Tipo monociclo
Zhejiang Shuangniao Lifting Equipment Co., Ltd. es una empresa de equipos especiales especializada en la investigación y desarrollo, producción, comercialización y servicio posventa de polipastos eléctricos de cable. Desde su creación, la empresa ha otorgado gran importancia al desarrollo de nuevos productos y a la innovación tecnológica, y se ha centrado en puntos de partida elevados y configuraciones elevadas. En la investigación y el desarrollo de polipastos eléctricos, mientras introduce continuamente tecnología extranjera avanzada, desarrolla activamente la investigación y el desarrollo de nuevos polipastos eléctricos de estilo europeo y establece el concepto central de "la innovación lidera el futuro, se centra en lograr lo maravilloso", que se ha convertido en la veleta del desarrollo de polipastos eléctricos nacionales y lidera el desarrollo de la industria nacional de polipastos eléctricos.
[#entrada#]
Sobre nosotros
Zhejiang Shuangniao Lifting Equipment Co., Ltd.
Zhejiang Shuangniao Lifting Equipment Co., Ltd.

Zhejiang Shuangniao Lifting Equipment Co., Ltd. es una empresa de equipos especiales especializada en la investigación y desarrollo, producción, comercialización y servicio posventa de polipastos eléctricos de cable. Desde su creación, la empresa ha otorgado gran importancia al desarrollo de nuevos productos y a la innovación tecnológica, y se ha centrado en puntos de partida elevados y configuraciones elevadas. En la investigación y el desarrollo de polipastos eléctricos, mientras introduce continuamente tecnología extranjera avanzada, desarrolla activamente la investigación y el desarrollo de nuevos polipastos eléctricos de estilo europeo y establece el concepto central de "la innovación lidera el futuro, se centra en lograr lo maravilloso", que se ha convertido en la veleta del desarrollo de polipastos eléctricos nacionales y lidera el desarrollo de la industria nacional de polipastos eléctricos.

Noticias